灭火救援数字化指挥训练云平台
科学施训、打赢致胜
灭火救援数字化指挥训练云平台
(科学施训、打赢致胜)
一、平台简介

长期以来,消防救援队伍的指挥训练形式,大多停留在理论学习与桌面推演和想定问答的层面,由于模拟真实动态的火灾事故场景,面临高投入、高损耗、高风险及难实施、难观摩、难再现的“三高三难”现实问题,导致指挥训练过程呈现碎片化、指挥效能的评判体系缺乏量化依据,标准模糊且难以统一。运用数字孪生、人工智能、大数据、云计算及互联网等前沿技术,打造涵盖理论学习、六熟悉训练、指挥训练、沙盘推演、灭火技术训练等内容,集训练与考评于一体的标准化指挥训练与考评平台,有效突破传统训练的瓶颈,推动消防救援指挥从“经验型”向“科学型”跃升,实现指挥员战术素养与应急处置能力的系统性提高。

二、主要功能

1. 多类型虚拟训练场景,训练内容贴近实战

 构建包括:建筑火灾、森林草原火、化工火灾(爆炸)、危化品泄漏、地铁/隧道事故等20+ 类典型灾害训练对象,分类总结灾害特点、处置程序、行动方法、处置措施和注意事项,形成了不同类型的训练内容模板,对应不同的任务类型和技战术应用。

2. 多层级、多角色、实时协同标绘

支持全勤指挥部和作战标绘两种模式,满足各级推演和指挥训练需求。

任务分级下达,明确到单位、车辆、方式、位置。

标绘实时同步,明确到单位、车辆、技战术、位置、器材、路线。

支持分阶段设定环境条件、火灾态势,便于分段指导、阶段小结。

支持导调员对各参演角色实时进行想定提问,各角色可在线即时作答并记录保存。

支持转存预案,通过预案指导推演、通过推演验证和修订预案。

3. 同一模式、同一标准,大规模实时在线的指挥训练和指挥能力考评

支持统一和辖区两种训练模式。

按训练计划预设题库、自动抽签自动分发。

在线训练、在线考评、在线评价。

支持千人以上同时在线训练和指挥能力考评。

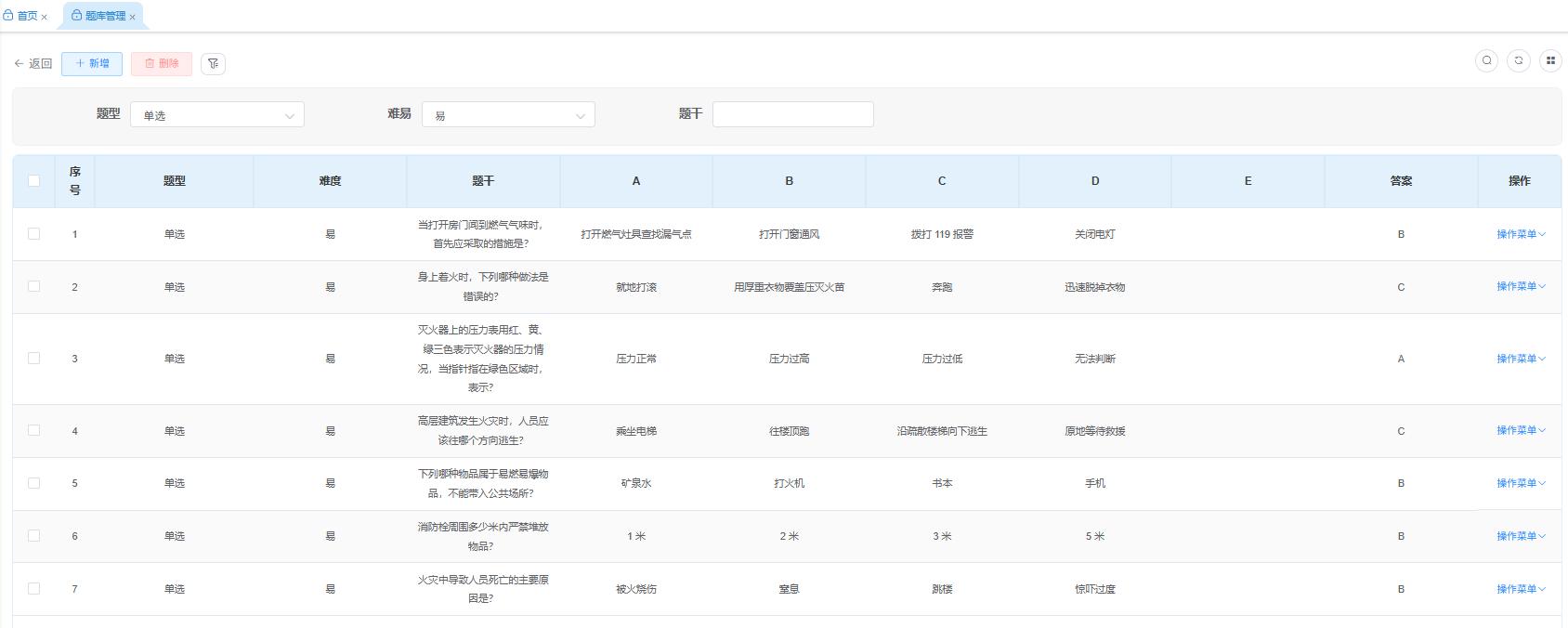
4. 练•学•考”三位一体无纸化理论训练

按考试时间、人员类型、题型比例、难易程度自动生成试卷、自动分发。

按规定时间自动交卷,自动阅卷,自动汇总训练错题,自动评分。

按队站、人员、时间段,进行练习、考试、参训率、通过率统计分析。

按试题分类、针对人员、难易程度等信息快速导入和更新题库。

5. 以实际力量构成进行调派和部署

按照地理位置标注8大类灭火救援基础数据。

按照装随车、车随站、下级随上级的隶属关系统筹管理。

支持按距离、到场估算时间、作战单元进行调派。

支持分级分类统计、条件查询、模糊查询等多方式统计查询。

6. 根据灭火战斗行动要则提供辅助决策,为8大类灾害战斗行动提供了上百种具体行动方法

自动计算各参战力量到场估算时间和距离。

自动汇总调集力量、已用力量、未用力量。

自动计算用水量、载水量、补水量和持续作战时间。

自动计算水带距离、混合液用量、冷却水用量、消防用水常备量、泡沫液常备量。

支持管网供水能力和室内外火灾的消防用水量计算。

自动给出化工炉、塔、泵、罐等关键设备的不同火灾演变模式和对应采取的工艺、消防处置措施。

7. 支持跨平台、移动端应用、多系统集成

支持Windows、Android,电脑端和移动端应用。

支持国产化软硬件产品适配、服务器、操作系统、数据库、中间件。

支持移动端开展辖区熟悉、灭火救援基础信息维护。

支持与实战指挥平台、智能接处警等实战化系统对接。

8. 标准化训考体系,实现“考核可对标”

依据《消防救援队伍灭火救援业务训练与考核大纲》制定量化考核指标,实现 “训练-考核-统计”的闭环管理。

根据参加培训情况、各项目成绩,同时抓取参加灭火救援次数以及立功受奖等情况,设定科学评判标准,分析指挥员指挥能力,形成战力图谱。

三、主要特点

1. 自动化程度高。操作方便快捷,普通消防救援人员易掌握。

2. 数字场景逼真。通过三维场景直观展示“战场”各类要素。

3. 过程贴近实战。导调人员实时控制,最大程度模拟实战过程。

4. 交互协同性好。参训人员可通过文字或语音实时沟通。

5. 组训手段多样。组训不受时空限制,方便组织多层级、多力量异地合成训练。

6. 训练成效突出。平台内置灭火做辅助计算、任务完成统计评价功能,便于分析总结。

7. 业务关联性强。与数字化预案平台无缝对接,实现预案指导推演,推演修订预案。

8. 训练内容丰富。包括业务理论、指挥流程、战例研究、协同指挥等多种训练考核内容。

公司名称
山东天兑信息科技有限公司
邮编
250098
联系电话
0531-88916187
公司地址
山东省济南市高新区齐鲁软件园
E座四层A407
公司邮箱
tianduikeji@163.com
关注我们
山东天兑信息科技有限公司 备案号:鲁ICP备19006585号-1